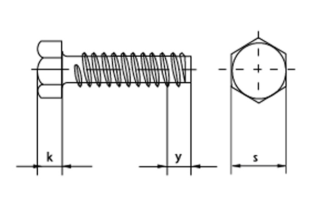
Саморез DIN 7976 F - крепежное изделие, которое имеет шестигранную головку, стержень с тупым концом (форма F) и полную резьбу.
Применение: предназначен для крепления металлических листов и строительных пластмасс к базовым конструкциям и каркасам, например, при проведении отделочных, монтажных или мебельных работ. Саморез предпочтительно применять там, где требуются более высокий момент затяжки и допускается выступающая шляпка крепежа.
Особенности:
Виды саморезов по металлу и их использование. ТОП-материал от ЦКИ.
Применение: предназначен для крепления металлических листов и строительных пластмасс к базовым конструкциям и каркасам, например, при проведении отделочных, монтажных или мебельных работ. Саморез предпочтительно применять там, где требуются более высокий момент затяжки и допускается выступающая шляпка крепежа.
Особенности:
- Шестигранная головка для передачи высокого крутящего момента.
- Внешний шестигранник на шляпке предназначен для завинчивания стандартным гаечным ключом или храповым механизмом с головкой.
- Изделие оснащено универсальной резьбой для вкручивания в разные по плотности и структуре материалы, прочно фиксируется.
- Перед монтажом необходимо произвести предварительное сверление отверстий.
Полезные материалы
Саморезы по металлу: разновидности и применение.Виды саморезов по металлу и их использование. ТОП-материал от ЦКИ.
Вы можете заказать покраску данного изделия в Промышленном крепеже
Подробнее об услуге покраски












