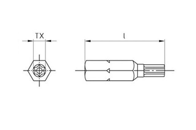
Бита art.9129 из нержавеющей стали под антивандальный Торкс. Предназначена для работы с нержавеющим крепежом с внутренней звёздочкой со штырём (шлиц TORX PIN ), предохраняющим от несанкционированного доступа. Применение нержавеющих бит позволяет избежать эффекта бурых вкраплений и разводов ржавчины от наносной коррозии на вкручиваемых винтах и саморезах.







