- Главная страница
- Каталог
- Заклепочная техника
- Заклепки
- Заклепки забивные
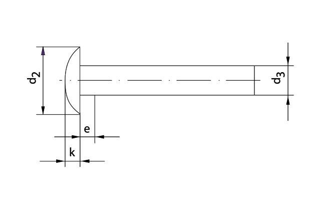
- Заклепка забивная DIN 674
Заклепка забивная DIN 674
Аналог ГОСТ 10302-80/ ISO 1051
с полукруглой низкой головкой
Удобная оплата.
По счету или банковской картой
Доставка.
По всей территории Казахстана
Качество.
Входной контроль каждой партии товара
|
Размеры |
3 |
4 |
5 |
6 |
|
d2 |
6,8 |
9 |
11,2 |
13,5 |
|
d3 min |
2,87 |
3,87 |
4,82 |
5,82 |
|
e max |
1,5 |
2 |
2,5 |
3 |
|
k |
1,5 |
2 |
2,5 |
3 |

|
Диаметр |
|||
|
Длина |
3 |
4 |
5 |
|
6 |
+ |
+ |
|
|
8 |
+ |
+ |
|
|
10 |
+ |
+ |
+ |
|
12 |
+ |
+ |
+ |
|
16 |
+ |
+ |
+ |



