Производитель:

ГК "Центр Крепежных Изделий" является официальным дилером компании BRALO на территории России
Производитель:

ГК "Центр Крепежных Изделий" является официальным дилером компании BRALO на территории России
| Заказать | |
|---|---|
| х |
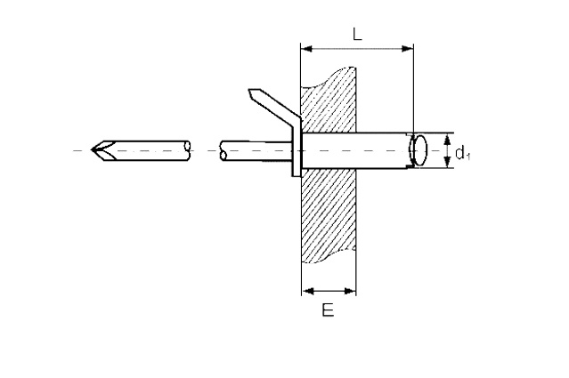
| d1 | 4 |
| А | 6,3 |
| B | 8,5 |
| L | |
| 7 | 4 |
На пересечении столбца d1 и строки L указана толщина Е
