Торговая марка:

Торговая марка:

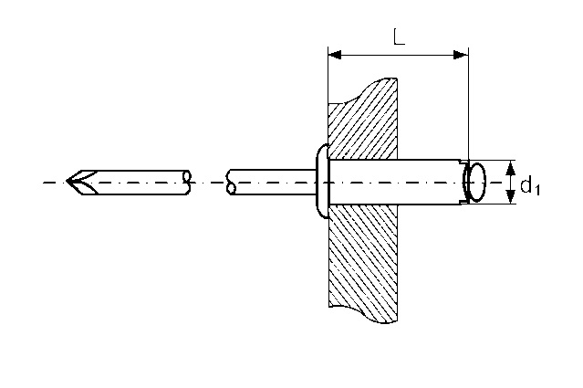
| L/d1 | 3 | 3,2 | 4,8 | 6,4 |
|---|---|---|---|---|
| 6 | х | х | ||
| 8 | х | х | х | |
| 10 | х | х | х | |
| 12 | х | х | х | х |
| 14 | х | х | ||
| 15 | х | |||
| 16 | х | х | х | |
| 18 | х | |||
| 20 | х | х | ||
| 25 | х |
| d1 | 3 | 3,2 | 4 | 4,8 | 4,8 | 5 | 6,4 |
| d2 | 6,2 | 6,2 | 8 | 8,7 | 9,5 | 9,5 | 12,7 |
| k | 1 | 1 | 1,3 | 1,4 | 1,1 | 1,4 | 1,7 |
| L | |||||||
| 6 | 1-3 | 1-3 | 1-3 | ||||
| 8 | 3-5 | 3-5 | 3-5 | 1-3 | 1-3 | ||
| 10 | 5-7 | 5-7 | 5-6,5 | 4-6 | 4-6 | ||
| 12 | 6-9 | 6-9 | 6,5-8,5 | 6-8 | 6-8 | 2-6 | |
| 14 | 9-11 | 8,5-10,5 | 8-10 | 8-10 | |||
| 15 | 9-12 | 6-9 | |||||
| 16 | 9,5-12 | 10-12 | 10-12 | ||||
| 18 | 12-15 | 12-14 | 12-14 | 9-12 | |||
| 20 | 14-16 | 14-16 | |||||
| 25 | 16-20 | ||||||
| 30 | 20-25 |
На пересечении столбца D и строки L указана толщина Е