Производитель:
Bralo (Испания)

Центр Крепежных Изделий является официальным дилером компании BRALO на территории России
Производитель:
Bralo (Испания)

Центр Крепежных Изделий является официальным дилером компании BRALO на территории России
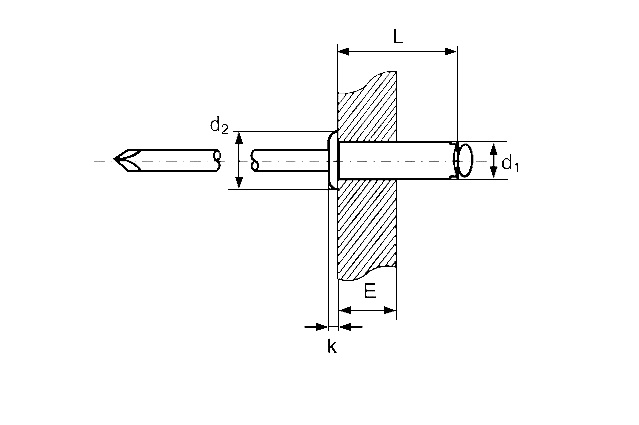
| L/d1 | 3 | 3,2 | 4 |
|---|---|---|---|
| 6 | х | х | х |
| 8 | х | х | х |
| 10 | х | х | х |
| 12 | х | х | х |
| 14 | х | ||
| 16 | х |
| d1 | 3 | 3,2 | 4 |
| d2 | 6,5 | 6,5 | 8 |
| k | 0.8 | 0,8 | 1 |
| L | |||
| 6 | 1,5-3,5 | 1,5-3,5 | 1,5-3 |
| 8 | 3,5-5,5 | 3,5-5,5 | 3-5 |
| 10 | 5,5-7 | 5,5-7 | 5-6,5 |
| 12 | 7-9 | 7-9 | 6,5-8,5 |
| 14 | 8,5-10,5 | ||
| 16 | 10,5-12,5 |
На пересечении столбца D и строки L указана толщина Е
