Производитель:
Bralo (Испания)

ГК "Центр Крепежных Изделий" является официальным дилером компании BRALO на территории России
Производитель:
Bralo (Испания)

ГК "Центр Крепежных Изделий" является официальным дилером компании BRALO на территории России
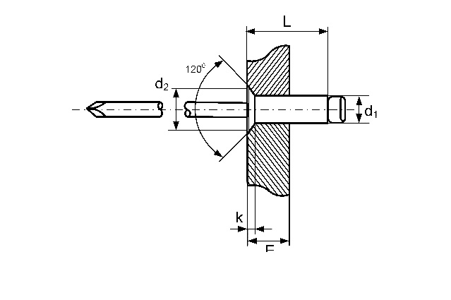
| L/d1 | 4 | 4,8 |
|---|---|---|
| 8 | х | х |
| 10 | х | х |
| 12 | х | х |
| 14 | х | х |
| d1 | 4 | 4,8 |
| d2 | 7,5 | 9 |
| k | 1 | 1,2 |
| L | ||
| 8 | 3-5 | 3-4,5 |
| 10 | 5-6,5 | 4,5-6 |
| 12 | 6,5-8,5 | 6-8 |
| 14 | 8,5-10,5 | 8-10 |
На пересечении столбца d1 и строки L указана толщина Е