Талреп вилка-вилка применяется для подъема и фиксации грузов, для натяжения тросов, канатов, цепей. Коэффициент запаса прочности составляет 5:1.
Производитель:
Certex (Финляндия)
Талреп вилка-вилка применяется для подъема и фиксации грузов, для натяжения тросов, канатов, цепей. Коэффициент запаса прочности составляет 5:1.
Certex (Финляндия)
|
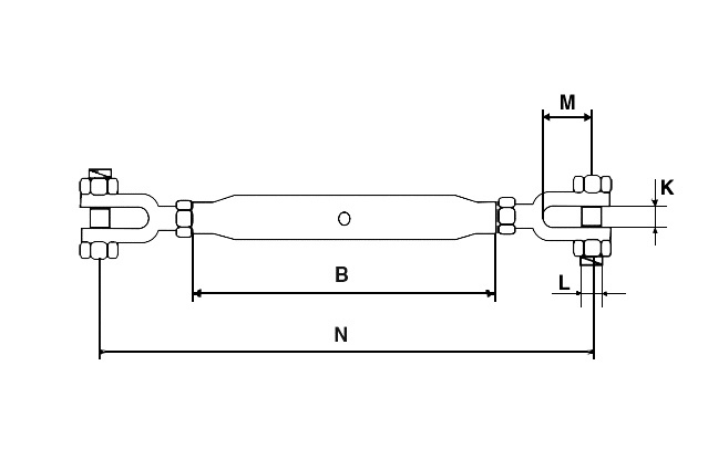
Обозначение |
Диаметр резьбы |
Рабочая нагрузка, т |
Длина Nmin |
Длина Nmax |
B |
L |
M |
K |
Вес / шт |
|
06НН |
М6 |
0,2 |
180 |
255 |
100 |
5 |
18 |
7 |
0,13 |
|
08НН |
М8 |
0,32 |
210 |
285 |
108 |
6 |
20 |
9 |
0,25 |
|
10НН |
М10 |
0,5 |
225 |
335 |
150 |
8 |
25 |
10 |
0,30 |
|
12НН |
М12 |
0,7 |
315 |
470 |
195 |
10 |
30 |
13 |
0,65 |
|
16НН |
М16 |
1,2 |
380 |
565 |
230 |
12 |
44 |
18 |
1,25 |
|
20НН |
М20 |
1,5 |
450 |
660 |
270 |
16 |
50 |
20 |
2,20 |
|
22НН |
М22 |
2,2 |
500 |
720 |
295 |
20 |
60 |
25 |
3,30 |
|
24НН |
М24 |
3,2 |
555 |
800 |
325 |
22 |
65 |
28 |
4,60 |
|
33НН |
М33 |
4,8 |
700 |
970 |
370 |
27 |
85 |
38 |
8,50 |
|
39НН |
М39 |
6,0 |
780 |
1060 |
400 |
33 |
100 |
45 |
14,50 |
|
45НН |
М45 |
8,5 |
800 |
1050 |
400 |
39 |
105 |
50 |
20,90 |
|
52НН |
М52 |
11,0 |
870 |
|