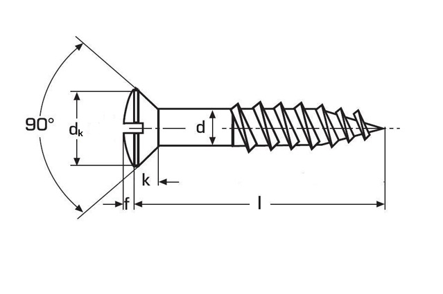
Шуруп DIN 7995 - крепежное изделие с неполной резьбой, полупотайной головкой, крестообразным шлицем.
Рассчитан на средние и высокие нагрузки.
Применение: используется для крепления элементов к металлу, дереву, пластмассе и прочим основаниям (универсален). Применяется в строительстве и в мебельном производстве.
Особенности:
Саморезы и шурупы: отличия, типы головок, типы шлицев, размеры, типы резьбы, типы концов.
Рассчитан на средние и высокие нагрузки.
Применение: используется для крепления элементов к металлу, дереву, пластмассе и прочим основаниям (универсален). Применяется в строительстве и в мебельном производстве.
Особенности:
- Полупотайная головка, частично выступающая над поверхностью, придает стильный декоративный вид сборке.
- Неполная резьба позволяет плотнее стягивать компоненты.
- Имеет толстый стержень, причем, ширина его гладкой части равняется наружному диаметру нарезанной части.
- Изготовлен из высококачественной стали, поэтому характеризуется повышенным запасом прочности.
- Сохраняет крепкое и надёжное соединение в течение длительного срока.
Полезные материалы
Саморезы и шурупы: отличия, типы головок, типы шлицев, размеры, типы резьбы, типы концов.
Вы можете заказать покраску данного изделия в Промышленном крепеже
Подробнее об услуге покраски
















