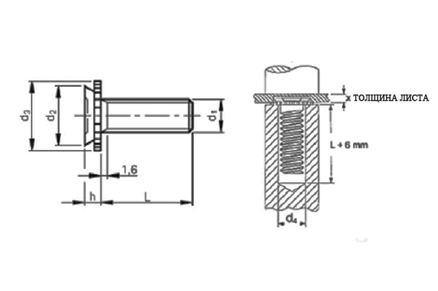
Резьбовая шпилька для установки во фрезерованное непроходное отверстие
CHA, CFHA – алюминий
CHC, CFHC – нержавеющая сталь
Применение:
Тип CHA, CFHA – для установки в металл твердостью до HRB 50
Тип CHC, CFHC – для установки в металл твердостью до HRB 70
Важно: у ответной части диаметр отверстия может быть больше диаметра резьбы – d1 + 0,5 мм.




