Шплинт DIN 94
Аналог ГОСТ 397-79 / EN ISO 1234
Удобная оплата.
По счету или банковской картой
Доставка.
По всей территории Казахстана
Качество.
Входной контроль каждой партии товара
L/Номинальный диаметр |
1 | 1.6 | 2 | 2.5 | 3.2 | 4 | 5 | 6.3 | 8 | 10 | 13 | 16 |
|---|---|---|---|---|---|---|---|---|---|---|---|---|
| 6 | х | |||||||||||
| 8 | х | х | ||||||||||
| 10 | х | х | х | |||||||||
| 12 | х | х | х | х | ||||||||
| 14 | х | х | х | х | х | |||||||
| 16 | х | х | х | х | х | |||||||
| 18 | х | х | х | х | х | х | ||||||
| 20 | х | х | х | х | х | х | ||||||
| 22 | х | х | х | х | х | х | ||||||
| 25 | х | х | х | х | х | х | ||||||
| 28 | х | х | х | х | х | х | ||||||
| 32 | х | х | х | х | х | х | х | |||||
| 36 | х | х | х | х | х | х | ||||||
| 40 | х | х | х | х | х | х | х | |||||
| 45 | х | х | х | х | х | х | х | |||||
| 50 | х | х | х | х | х | х | х | |||||
| 56 | х | х | х | х | х | х | ||||||
| 63 | х | х | х | х | х | х | ||||||
| 71 | х | х | х | х | х | х | ||||||
| 80 | х | х | х | х | х | х | ||||||
| 90 | х | х | х | х | х | |||||||
| 100 | х | х | х | х | х | |||||||
| 112 | х | х | х | х | х | |||||||
| 125 | х | х | х | х | х | |||||||
| 140 | х | х | х | х | ||||||||
| 160 | х | х | х | х | ||||||||
| 180 | х | х | х | |||||||||
| 200 | х | х | х | |||||||||
| 224 | х | х | ||||||||||
| 250 | х | х |
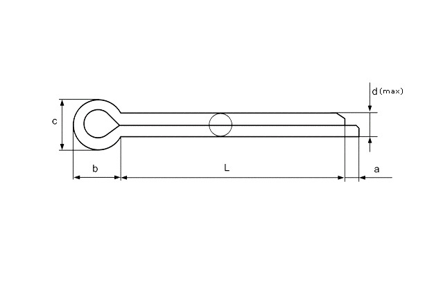
| Номинальный диаметр отверстия | 1 | 1.6 | 2 | 2.5 | 3.2 | 4 | 5 | 6.3 | 8 | 10 | 13 | 16 |
| d (max) | 0.9 | 1.4 | 1.8 | 2.3 | 2.9 | 3.7 | 4.6 | 5.9 | 7.5 | 9.5 | 12.4 | 15.4 |
| b | 3 | 3.2 | 4 | 5 | 6.4 | 8 | 10 | 12.6 | 16 | 20 | 26 | 32 |
| c (max) | 1.8 | 2.8 | 3.6 | 4.6 | 5.8 | 7.4 | 9.2 | 11.8 | 15.0 | 19.0 | 24.8 | 30.8 |
| a (max) | 1.6 | 2.5 | 2.5 | 2.5 | 3.2 | 4 | 4 | 4 | 4 | 6.3 | 6.3 | 6.3 |





