Гайка и шпилька выполнены по стандарту DIN 2510.
Шпилька DIN 2510 предназначена для фланцевых соединений. Изделие имеет утонченный стержень и удлиненную резьбу. Данная шпилька используется со стандартной шестигранной гайкой DIN 2510 (тип NF).
Гайка и шпилька выполнены по стандарту DIN 2510.
Шпилька DIN 2510 предназначена для фланцевых соединений. Изделие имеет утонченный стержень и удлиненную резьбу. Данная шпилька используется со стандартной шестигранной гайкой DIN 2510 (тип NF).
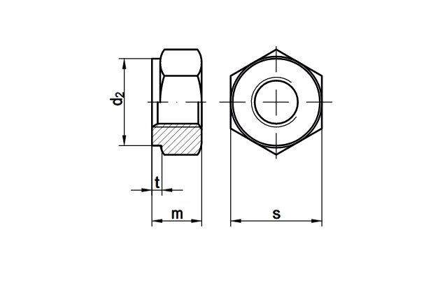
Гайка DIN 2510
| Параметры | М12 | М14 | М16 | М20 | М24 | М27 | М30 | М33 | М36 | М39 | М42 | М45 | М48 |
| s | 22 | 24 | 27 | 32 | 36 | 41 | 46 | 50 | 55 | 60 | 65 | 70 | 75 |
| m | 12 | 14 | 16 | 20 | 24 | 27 | 30 | 33 | 36 | 39 | 42 | 45 | 48 |
| d2 | 21 | 23 | 26 | 31 | 35 | 40 | 45 | 49 | 53.5 | 58.5 | 63.5 | 68.5 | 73.5 |
| t | 2 | 2 | 2 | 2 | 3 | 3 | 3 | 3 | 3 | 3 | 3 | 3 | 4 |

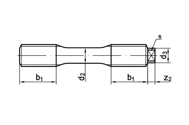
Шпилька DIN 2510
| Параметры | М12 | М16 | М20 | М22 | М24 | М27 | М30 | М33 | М36 | М39 |
| d2 | 8.5 | 12 | 15 | 16.5 | 18 | 20.5 | 23 | 25.5 | 27.5 | 30.5 |
| d3 | 8 | 12 | 14 | 14 | 14 | 18 | 18 | 25 | 25 | 28 |
| b1 | 20 | 23 | 28 | 30 | 32 | 35 | 39 | 42 | 45 | 48 |
| z2 | 4 | 5 | 6 | 6 | 6 | 6 | 6 | 9 | 9 | 10 |
| s | 7 | 10 | 11 | 11 | 11 | 13 | 13 | 22 | 22 | 24 |
