| L/d | М8 | М10 | М12 | М14 | М16 | М18 | М20 | М22 | М24 | М27 | М30 | М36 |
|---|---|---|---|---|---|---|---|---|---|---|---|---|
| 16 | х | |||||||||||
| 20 | х | х | х | х | х | |||||||
| 25 | х | х | х | х | х | |||||||
| 30 | х | х | х | х | х | |||||||
| 35 | х | х | х | х | х | х | ||||||
| 40 | х | х | х | х | х | х | х | х | х | |||
| 45 | х | х | х | х | х | х | х | х | ||||
| 50 | х | х | х | х | х | х | х | х | х | х | ||
| 55 | х | х | х | х | х | х | х | х | х | |||
| 60 | х | х | х | х | х | х | х | х | х | |||
| 65 | х | х | х | х | х | х | х | |||||
| 70 | х | х | х | х | х | х | х | |||||
| 80 | х | х | х | х | х | х | х | х | ||||
| 90 | х | х | х | х | х | х | ||||||
| 100 | х | х | х | х | х | х | ||||||
| 110 | х | х | х | х | х | х | ||||||
| 120 | х | х | х | х | х | х | ||||||
| 130 | х | х | х | х | х | |||||||
| 140 | х | х | х | х | х | |||||||
| 150 | х | х | х | х | х | |||||||
| 160 | х | х | х | х | х | |||||||
| 180 | х | х | х | х | ||||||||
| 200 | х | х | х | х |
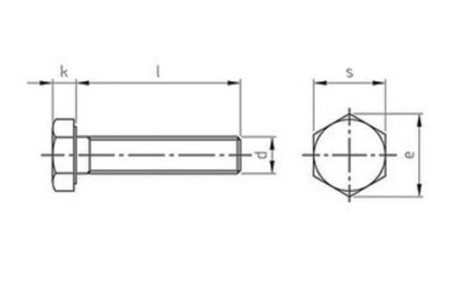
| d | М8 | М10 | М12 | М14 | М16 | М18 | М20 | М22 | М24 | М27 | М30 | М36 |
| шаг резьбы | 1 |
1 1,25 |
1 1,25 1,5 |
1,5 | 1,5 |
1,5 2 |
1,5 2 |
1,5 |
1,5 2 |
2 |
1,5 2 |
3 |
| к | 5,3 | 6,4 | 7,5 | 8,8 | 10 | 11,5 | 12,5 | 14 | 15 | 17 | 18,7 | 22,5 |
| s | 13 | 17 | 19 | 22 | 24 | 27 | 30 | 32 | 36 | 41 | 46 | 55 |
| е | 14,38 | 18,9 | 21,1 | 23,91 | 26,17 | 29,56 | 32,95 | 35,03 | 39,55 | 45,2 | 50,85 | 60,79 |
