- Главная страница
- Каталог
- Крепёж
- Болты, винты, шпильки
- Болты
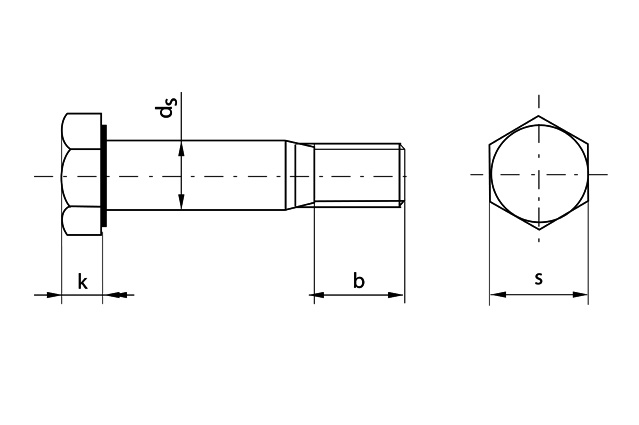
- Болт призонный DIN 7999
Болт призонный DIN 7999
Аналог ISO EN 14399-8
призонный с увеличенным размером под ключ, высокопрочный
Удобная оплата.
По счету или банковской картой
Доставка.
По всей территории Казахстана
Качество.
Входной контроль каждой партии товара
|
Размер |
м12 |
м16 |
м20 |
м22 |
м24 |
м27 |
м30 |
м36 |
|
k |
8 |
10 |
13 |
14 |
15 |
17 |
19 |
23 |
|
Ds |
13 |
17 |
21 |
23 |
25 |
28 |
31 |
37 |
|
b |
23 |
28 |
33 |
34 |
39 |
41 |
44 |
52 |
|
s |
22 |
27 |
32 |
36 |
41 |
46 |
50 |
60 |

|
|
Резьба |
|||||
|
Длина |
м16 |
м20 |
м22 |
м24 |
м27 |
м30 |
|
50 |
+ |
+ |
||||
|
55 |
+ |
+ |
+ |
|||
|
60 |
+ |
+ |
||||
|
65 |
+ |
|||||
|
70 |
+ |
|||||
|
75 |
||||||
|
80 |
+ |
|||||
|
85 |
+ |
+ |
||||
|
90 |
+ |
+ |
||||
|
95 |
+ |
|||||
|
105 |
+ |
|||||
|
110 |
+ |
+ |
||||
|
125 |
+ |
|||||
|
150 |
+ |
+ |
||||




