О нас
Контакты
Услуги
Доставка
Избранное
0
Корзина
0
Вход
Каталог
+7(708) 710-04-06
sale@promkrep.kz
+7(708) 710-04-06
Каталог
Поиск
Корзина
Вход
Главная страница
Каталог
Крепёж
Болты, винты, шпильки
Болты
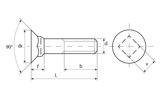
Болт DIN 608
Болт DIN 608
Аналог ГОСТ 7786-81
с потайной головкой и низким квадратным подголовком
Купить
Удобная оплата.
По счету или банковской картой
Доставка.
По всей территории Казахстана
Качество.
Входной контроль каждой партии товара
Описание
Технические характеристики
Показать еще
Типоразмерная таблица: болт DIN 608
L/d
М8
М10
М12
25
х
х
х
30
х
х
х
35
х
х
х
40
х
х
х
45
х
х
50
х
х
Размерная таблица болта DIN 608
d
М8*
М10
М12
d
k
16
19
24
b
22
26
30
f
8
10,5
v
10
12
* Не является стандартным