Применяется в машиностроении, приборостроении и прочих промышленных областях вместе с соответствующими гайками.
Дополнительное название
Винт мебельный с усом.
Применяется в машиностроении, приборостроении и прочих промышленных областях вместе с соответствующими гайками.
Дополнительное название
Винт мебельный с усом.
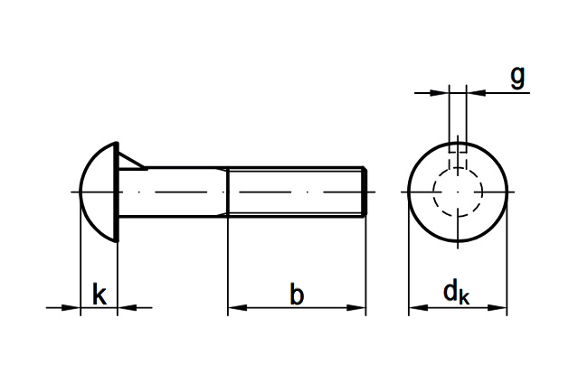
| Диаметр | dk | k | g | b1 | b2 | b3 |
| М 8 | 16,55 | 16,38 | 3 | 22 | 28 | - |
| М 10 | 19,65 | 7,45 | 3,2 | 26 | 32 | - |
| М 12 | 24,5 | 9,65 | 3,6 | 30 | 36 | - |
| М 16 | 30,65 | 11,75 | 4,2 | 38 | 44 | 57 |