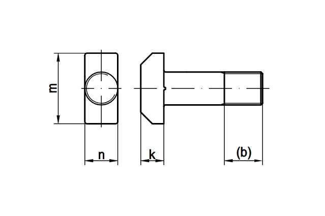
Болт пазовый DIN 261 с неполной резьбой и Т-образной головкой.
- Главная страница
- Каталог
- Крепёж
- Болты, винты, шпильки
- Болты
- Болт пазовый Т-образный DIN 261
Болт пазовый Т-образный DIN 261
пазовый с неполной резьбой
Удобная оплата.
По счету или банковской картой
Доставка.
По всей территории Казахстана
Качество.
Входной контроль каждой партии товара
| Диаметр | Ширина головки (m), мм | Диаметр окружности, вписанной в головку Т-болта (n), мм | Высота головки (k), мм | Длина резьбы для L ≤ 120 мм (b1) | Длина резьбы для 120 < L ≤ 200 мм (b2) |
| M6 | 16 | 6 | 4,5 | 18 | - |
| M8 | 18 | 8 | 5,5 | 22 | - |
| M10 | 21 | 10 | 7 | 26 | - |
| M12 | 26 | 12 | 8 | 30 | - |
| M16 | 30 | 16 | 10,5 | 38 | 44 |
| M20 | 36 | 20 | 13 | 46 | 52 |
| M24 | 43 | 24 | 15 | 54 | 60 |
L - длина стержня Т- образного болта




