- Главная страница
- Каталог
- Крепёж
- Болты, винты, шпильки
- Болты
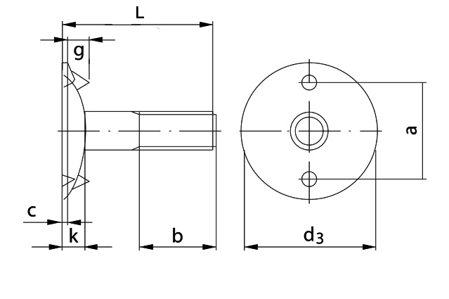
- Болт DIN 15237
Болт DIN 15237 норийный
с гайкой и шайбой (норийный)
Удобная оплата.
По счету или банковской картой
Доставка.
По всей территории Казахстана
Качество.
Входной контроль каждой партии товара
| Размер | м6 | м8 | м10 | м12 |
|---|---|---|---|---|
| d3 | 20 | 28 | 35 | 42 |
| a | 14 | 20 | 25 | 30 |
| Cmax | 1 | 1 | 1 | 1,2 |
| g | 3,5 | 5 | 6 | 7 |
| k | 2,5 | 3,5 | 4,5 | 5,2 |
| l | 20 | 25/30/35/40 | 30/35/40/50 | 35/40/50/60 |
| b | 12 | 15/18/18/20 | 18/20/20/20 | 20/25/28/28 |

|
Резьба |
||||
|
Длина |
м6 |
м8 |
м10 |
м12 |
|
20 |
+ |
+ |
||
|
25 |
+ |
|||
|
30 |
+ |
+ |
||
|
35 |
+ |
+ |
+ |
|
|
40 |
+ |
+ |
+ |
|
|
45 |
+ |
|||
|
50 |
+ |
+ |
+ |
|
|
60 |
+ |
|||



